爱游戏体育-爱游戏| 爱游戏官方网站
新闻动态
KWZK科威自控集团
爱游戏体育-爱游戏| 爱游戏官方网站
关于我们
公司简介
在线反馈
联系我们
产品展示
全部
爱游戏体育-爱游戏| 爱游戏官方网站
流量计系列
液位/料位系列
阀门/执行装置
液压/气动元件
检维修工器具
化验/分析仪器
其他机电仪产品
新闻动态
全部
行业知识
企业新闻
资料下载
客户案例
新闻动态
推荐
热门
最新
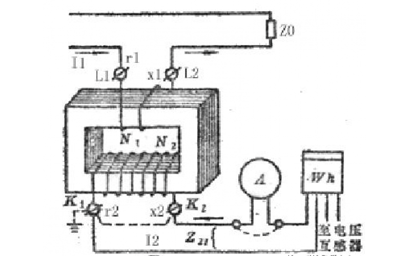
电压互感器与电流互感器的区别介绍
电压互感器与电流互感器的区别介绍
2022-08-22
科威电气
上一页
1
下一页
转至第
爱游戏体育-爱游戏| 爱游戏官方网站
产品
新闻
联系